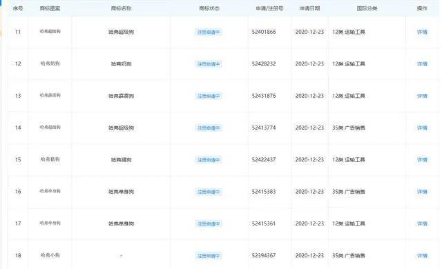
近日,長城汽車因大量注冊新商標一事引起大量的關注。據車叔了解,在長城汽車這次注冊的商標中,包括了“哈弗單身狗”“哈弗霹靂狗”“哈弗獵狗”“哈弗超級狗”等商標,國際分類這一欄涉及到運輸工具以及廣告銷售,商標狀態均為“商標申請中”。

對此,網友們認為長城汽車此舉是為了博眼球,但是這樣的市場營銷策略有些變味,不太符合傳統觀念。另外,一些單身的朋友認為,“哈弗單身狗”這個商標讓人聽起來有些不舒服,感覺心里受到了一萬點暴擊。

當然了,車叔對于另一種解釋倒是比較贊同。一部分網友認為,長城汽車注冊這么多商標,其主要目的是為了避免其他品牌對商標進行惡意搶注。其實這種做法很常見,奧迪汽車就曾注冊了多種LOGO,意在防止其他品牌“碰瓷”。

其實長城汽車注冊的商標不止是“狗字科”,車叔注意到,自2020年到現在,長城汽車注冊的商標還有“長城二炮”“長城四炮”“魏·舒服”“歐拉貓”“雷電炮”“哈弗躍馬”等,聽起來各個都很奇葩。商標注冊可以是為企業爭取儲備商標的一個途徑,在實際運用中,商標注冊需要經歷的時間很久,所以提早進行商標布局有利于企業商標的積累,在后續的使用或者防御中起到一定的作用。若您對商標注冊的相關信息不是非常了解,可以選擇正規的代理公司,帶路商標網以誠信立業,為客戶提供最專業的商標代理服務。