PZEA是KVMLA旗下的一家新主機商,KVMLA是一家國人主機商,成立于2011年。其提供的服務幾年來口碑還算良好,其老總--“K總”常活躍于全球主機交流論壇,是個技術牛人,也正是這份技術功底,使其撐過了國人IDC成立初期的殘酷競爭期(DDOS攻擊和CC攻擊輪番上陣,能撐過來的都是運維水平過硬的),保障了其服務穩定性。
PZEA現提供亞洲KVM、美國KVM和便宜VPS三種VPS主機,KVM能提供更好的性能,更大的系統自主性,其相應價格也更高,真正做網站的朋友可選擇KVM架購的VPS。
第一、Pzea便宜美國VPS主機購買過程
1、Pzea便宜方案
年付PZEA便宜方案:https://www.pzea.com/North-America-openvz-vps.html
2、選擇合適配置和機房

這里我們可以看到上圖所示中Pzea最低年付12美金(256MB內存、15GB硬盤、1個IP、100Mbit帶寬、月500GB流量),根據需要選擇配置方案,以及每個方案有3個機房,分別是鳳凰城Phoenix、洛杉磯Los Angeles、佛利蒙Fremont。
PS:三個機房的速度都差不多,因為我考慮到可能 很多人會選擇洛杉磯,所以我就選擇佛利蒙。
3、核對配置和默認系統

這里我們可以看到當前購買的佛利蒙年付12美金(自動給我們折算成75元RMB),我們可以選擇Linux各種發行版本。后面就很簡單的繼續注冊賬戶或者已有賬戶登入后付款,可以用支付寶。
第二、Pzea便宜美國VPS主機綜合測評
我們選擇任何VPS主機、服務器、虛擬主機產品的時候,即便是看到一些評測文章,也不能全作為參考依據,因為所有的測評文章都僅限當時的網絡環境、時間點的數據,并不能代表永久的性能。就好比我們購買的一些主機,開始用的不錯,后來就慢了,這些關系的因素很多。
1、內存、硬盤、CPU參數

這里是這款VPS主機的配置,內存購買的時候標識256MB,但是實際怎么給了512MB?難道送雙倍內存,不懂其他網友有沒有這樣的情況。
2、硬盤IO讀寫速度參數

3、隨機網絡線路下載參數

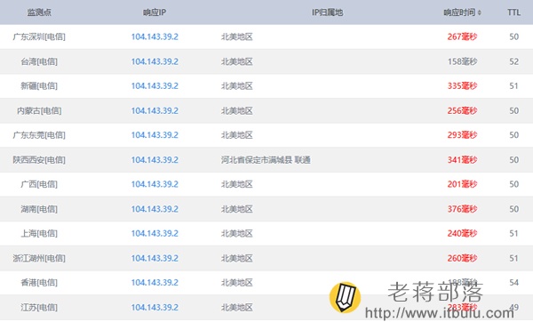
4、Ping速度測試參數
鳳凰城:184.164.68.11
洛杉磯:104.251.225.253
佛利蒙:104.143.39.2

這里挑選PZEA佛利蒙機房的PING速度,從數據上看還是不夠理想的,要是海外VPS主機PING速度在200左右就比較理想,但是我們也不能完全看Ping數據,我們還需要看實際項目速度。
5、UnixBench跑分測試

6、流媒體速度效果

瀏覽720P流媒體速度還算可以,1080P速度稍微有點卡頓。
第三、Pzea便宜美國VPS體驗小結
1、年付12美元(75元左右)的費用用來玩玩還算可以的,其品牌算是國內個人商家中口碑還算可以的。我們可以用來玩玩Linux VPS,搭建個小網站或者架設工具上網。
2、從上述的性能測試看,網路節點的下載速度并不是特別理想,尤其是到歐洲、亞洲節點的速度不夠好,這也取決于帶寬僅有100Mbit的速度,從瀏覽流媒體速度看,基本的還算可以滿足,上網查閱資料算是沒有問題的。
總結,從配置上看K總給的還是比較多的,比如256MB內存方案年付12美金價格給的是512MB內存,還有256的Swap。今天的測試速度看對比上周拿到的時候顯然不如那天的,丟包還是有點多的,怪不得有網友說他們的測試也有一點問題,不過作為練手便宜VPS還是可以用的。
anyway,我們在選擇如何主機商和產品的時候永遠要記住一分錢一分貨,而且對于我們在選擇追求過分便宜VPS主機的時候一定要有一定的心理準備,當然即便有些商家的機器較貴也不一定能夠滿足我們的需求要求。這就是為什么每次有用戶讓推薦VPS商家和產品的時候較為為難,因為不同的人用同一個機器速度也不同。我們盡量的在選擇機器先打聽其他用戶使用情況,以及問清楚是否可以退款,采用月費方式,不滿意可以在條款規定內申請退款等等自我嘗試。